PL EN

Archive

1/2002
All articles stats
19
Downloads
137
Views
 
 
Figure from article: Badania zmodernizowanej...

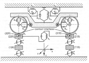
Badania zmodernizowanej lokomotywy spalinowej SP32

Rail Vehicles/Pojazdy Szynowe 2002,1,38-49
 
Stats
Downloads: 4
Views: 18
 
eISSN:2719-9630
ISSN:0138-0370
Journals System - logo
Scroll to top